土壤污染的治理措施大致有物理、化學、生物等幾類方法,其中,土壤淋洗修 復技術因具有適用范圍廣、見效快、效果顯著等優勢而被廣泛采用。現有土壤淋洗修 復技術 主要針對重金屬、苯系物、石油、鹵代烴及多氯聯苯等化學污染物的淋洗,并不能解 決土壤 中的有機物污染,因此通常需要另外采取生物或物理修復技術來處理土壤中的有機物 。目 前的土壤修復設備僅能去除化學污染物或有機污染物,功能單一,尚未有可同時去除 化學 污染物或有機污染物的多功能土壤修復設備。

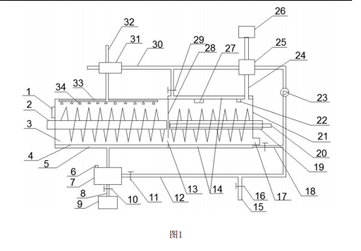
多功能土壤修復設備,包括修復箱,修復箱內設有隔板,隔板將修復箱分割成噴淋修 復室和熱解吸修復室,修復箱兩側的側壁上分別設有進料口和出料口,噴淋修復室內 設有第一螺旋輸送機,熱解吸修復室內設有第二螺旋輸送機,隔板下端設有通孔;噴 淋修復室內設有噴淋裝置,噴淋裝置連接有淋洗劑進管,噴淋修復室的底部為濾網, 濾網下方設有集液腔;熱解吸修復室內設有土壤加熱裝置,頂部連接有廢氣管道;廢 氣管道上設有第一換熱器,淋洗劑進管上設有第二換熱器,集液腔通過淋洗劑冷管與 第一換熱器的入口連接,第一換熱器的出口通過淋洗劑熱管與第二換熱器的入口連接 。本設備可同時去除土壤中的化學污染物和有機污染物,并且廢氣熱量可回收利用。