土壤本來是各類廢棄物的天然收容所和凈化處理場所,當土壤中收容的各類污染物過多,影響和超過了土壤的自凈能力,土壤自身也需要進行土壤修復。造成土壤污染的原因有很多,其中污染
土壤修復治理已成為重中之重。

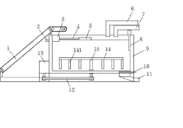
污染土壤修復的設備,包括混合池,所述混合池的一側安裝有輸送帶,所述輸送帶通過支架固定連接在所述混合池上,所述混合池的底部中心位置通過軸承安裝有主軸,所述主軸的頂部固定連接有攪拌桿,所述攪拌桿的底部固定設置有梳齒,所述混合池的下方的外側固定設置有攪拌電機,所述攪拌電機通過皮帶與所述主軸的底部的帶輪傳動連接,所述,所述混合池內部的上方固定設置有水泵,所述水泵通過軟管連接有浮板,所述混合池內部的一側固定設置有PH檢測儀,所述PH檢測儀的檢測探頭位于液面以下。本發明可實現土壤修復的一體加工,控制方便,具有結構簡單、使用效果好等優點。