受污染的土壤需要采用土壤修復技術進行治理,確保其滿足人體健康的需求。土 壤修復技術主要是指利用物理、化學和生物的方法通過轉移、吸收、降解和轉化等方式使土 壤中的污染物的濃度降低到可接受水平,或將有毒有害的污染物轉化為無害的物質。其按 修復場地可分為原位污染土壤修復設備和異位污染修復。異位污染土壤修復常用的成熟技術包 括異位化學氧化修復、異位化學還原修復、異位固化穩定化修復等,一般來講,這些技術通 常需要對污染土壤進行破碎,將大塊的土壤達到較小的粒徑,然后與藥劑充分混合,達到土 壤修復處理的目的。

目前,部分異位污染土壤修復設備在進行破碎、混合處理時往往采用單機破碎、單機混 合和人工加藥的方式,未形成統一的自動化系統,因而投入較多的人力物力。另外,由于藥 劑和污染土壤的混合不均勻可能導致修復效率低等問題,同時,分開作業可能需要采取更 多的二次污染防護措施。
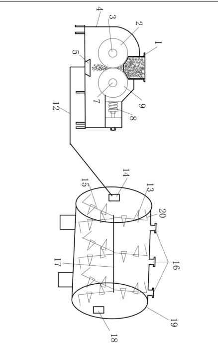
為解決這個技術問題提供了一種異位污染土壤修復設備,包括破 碎系統、輸送機和投藥混合系統,所述的破碎系統包括土壤料倉,雙齒輥、破碎機殼和下料 區接口,所述的雙齒輥是由固定齒輥和活動齒輥所組成,所述的固定齒輥和活動齒輥分別 套裝在第一轉動軸和第二轉動軸上,所述的固定齒輥和活動齒輥水平設置在破碎機殼內, 所述的活動齒輥與間隙調節裝置相連,所述的土壤料倉穿過破碎機殼的頂壁伸入至破碎機 殼內,所述的固定齒輥與活動齒輥之間的間隙位于的土壤料倉的正下方,所述的下料區接 口安裝在破碎機殼的底部,所述的下料區接口位于固定齒輥與活動齒輥之間間隙的正下 方,所述的輸送機的一端連接在下料區接口的下料口處,所述的輸送機的另一端與投藥混 合系統相連。
鄭州市長椿路11號國家大學科技園孵化1號樓513
電話:0371-61772378
郵箱:desenhuanjing@163.com
微信公眾號
德森環境抖音號 30年
裝備制造經驗
為用戶提供及時、高效、便捷的服務