土壤板結是指土壤表層在降雨或灌水等外因作用下結構破壞,致使干燥后土壤保水、保肥能力及通透性降低,土料分散,土壤板結現象會導致作物減產,影響正常的農業生產,現有的土壤表層板結破碎裝置效率低下,使用常規的破碎葉片難以破碎完全,使得破碎后仍有板結的存在,因此,急需一種破碎效率高、破碎效果好的土壤表層板結破碎裝置,解決土壤板結的問題。
有鑒于此,本發明提供一種破碎效率高、破碎效果好的土壤表層板結破碎裝置。
1、技術方案:
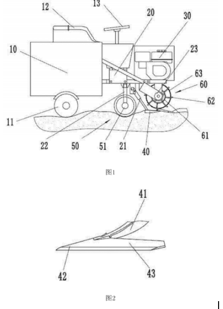
駕駛臺:液壓系統,所述液壓系統設置在所述駕駛臺上;
發動機,所述發動機設置在所述駕駛臺的前端,用于驅動所述駕駛臺行駛、驅動所述液壓系統工作;
鏟,所述鏟設置在駕駛臺的下側,所述液壓系統驅動所述鏟動作;
破碎鏟,所述破碎鏟設置在駕駛臺的下側,且所述破碎鏟位于所述鏟的后側,所述液壓系統驅動所述破碎鏟動作:
破碎輪,所述破碎輪設置在所述駕駛臺的下側,且所述破碎輪位于所述鏟的前側,所述破碎輪連接在所述液壓系統的液壓馬達上,所述破碎輪包括基輪、若干個碾輪和若干組破碎錘,所述碾輪沿所述基輪的軸向設置在所述基輪的外周上,所述破碎錘設置在所述基輪的外周上。
進一步地,若干個碾輪沿所述基輪的軸向均勻分布,若干組破碎錘沿所述基輪的軸向均勻分布,且每組所述破碎錘位于相鄰兩個碾輪之間。
更進一步地,所述碾輪的輪轂邊緣設置有基座,所述基座上設置有一對凸耳,一對凸耳之間具有開口和環形通道,所述開口和環形通道之間通過過孔貫通。 每組破碎錘包括若干個破碎錘,若干個破碎錘沿所述基輪的周向均勻分布。所述破碎錘包括左錘臂和右錘臂,所述左錘臂的一端和右錘臂的一
端通過安裝座連接,且所述左錘臂和右錘臂之間具有錘口。所述左錘臂的另一端設置有左錘頭,所述左錘頭的側面設置有相互連接的凸刃和凹口。所述右錘臂的另一端設置有右錘頭,所述右錘頭的側面具有斜刃。所述破碎鏟包括主軸和套設在所述主軸上的若干個鏟葉,所述主軸連接在所述液壓系統的第二驅動液壓缸上。所述鏟葉包括安裝套和轉動片,所述安裝套套設在所述主軸上,所述轉動片固定設置在所述安裝套上,所述轉動片上設置有外側刃。
2、優點是:
實用性較強,比傳統的土壤表層板結破碎裝置破碎效果好、破碎效率高,節省了人力物力。
3、附圖說明


在附圖中:
圖l是本發明的結構示意圖。
圖2是本發明的鏟的結構示意圖。
圖3是本發明的破碎錘的結構示意圖。
圖4是本發明的破碎錘的又一結構示意圖。
囹5是本發明的鏟葉的結構示意圖。
圖6是本發明的碾輪的局部剖視圖。
圖中標記為:
駕駛臺-10、驅動輪-11、座椅-12、方向盤-13、液壓系統-20、第一驅動液壓缸- 21、第二驅動液壓缸-22、液壓馬達-23、發動機-30、鏟-40、鏟柄- 41、鏟尖-42、鏟翼-43、破碎鏟-50、主軸- 51、鏟葉-52、前槽-521、前槽側刃- 5211、轉動片-522、端刃-523、外側刃-524、分流槽-526、安裝套-527、破碎輪-60、基輪-61、破碎錘-62、安裝座- 621、左錘臂-622、左側刃-6221、左錘頭-623、凸刃-6231、凹口-6232、錘口一624、右錘臂-625、右側刃-6251、右錘頭-626、斜刃-6261、安裝孑L-627、碾輪-63、輪轂-631、基座-632、凸耳-633、開口-634、過孔-635、環形通道-636。